Einzelnen Beitrag anzeigen
Alt 05.02.2009, 18:29:49   #33
susirider
Benutzer
 
Benutzerbild von susirider
 
Registriert seit: 04.06.2008
Beiträge: 97
Standard Re: Choke meint, mich ärgern zu müssen

ich hatte heut den tank runter und den chokezug komplett ausgehangen. der ist wirklich kaputt, mit schmieren war da auch nix mehr. gleich zum suzuki-händler und für 21 € nen neuen geholt. jetz hab ich noch ne frage beim einhängen:
[attachment=1:3m9y9teo]2.JPG[/attachment:3m9y9teo]

muss die feder SO sitzen oder liegt die nicht direkt an dem nippel an? kann es sein, dass die feder HINTER die halterung für den bowdenzug(wo er reingeklemmt wird) kommt? oder ist das schon richtig so?

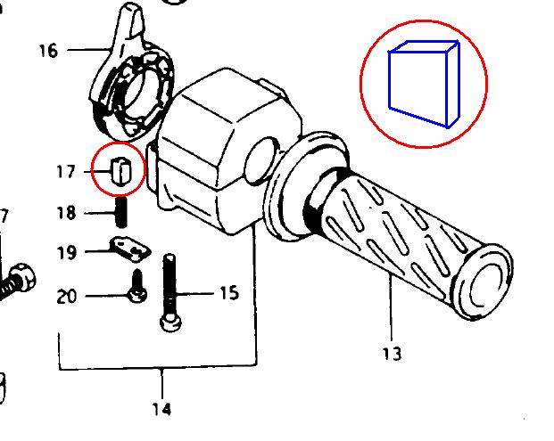
und dann noch ne frage:[attachment=0:3m9y9teo]1.JPG[/attachment:3m9y9teo]

das weiße teil 17 kommt von unten in das gehäuse am choke rein. aber es ist kein quaderförmiger körper, sondern er sieht etwa so wie die blaue zeichnung aus, d.h. wie unten ,,abgeschnitten", also nicht grade. wie rum muss ich das teil in das gehäuse stecken? auf der zeichnung ist das nich so genau zu erkennen. hoffe ihr könnt mir helfen
Miniaturansicht angehängter Grafiken
Klicke auf die Grafik für eine größere Ansicht

Name:	2.JPG
Hits:	763
Größe:	62,6 KB
ID:	2750   Klicke auf die Grafik für eine größere Ansicht

Name:	1.JPG
Hits:	824
Größe:	43,8 KB
ID:	2751  
__________________
Suzuki GS 500 E/GM51B, 1997
36000 km
4,2 l/100km
170 km/h
susirider ist offline   Mit Zitat antworten